(조세금융신문=황성필 변리사) 본 편에서는 유명 뮤지션, 헐리우드 영화 감독, 나아가 대통령에 이르기까지 대중들에게 널리 알려진 유명인의 발명에 대하여 소개하도록 하겠다. 발명은 관심에서 시작하며, 차별성의 유무로 완성된다. 유명인이라고 하여 특허의 등록이 더 수월하지는 아니하다.
유명인들도 여느 발명가들과 다르지 않게, 자신들이 관심이 있는 분야에서 포착된 문제점을 그냥 지나치지 않았다. 그리고 이런 문제점을 개선시킬 자신만의 고유한 해결책을 도출하기 위하여 많은 시간과 노력을 기울인 것이고, 특허를 받기에 이른 것이다.
James Cameron _제임스 카메룬
터미네이터, 타이타닉, 아바타 등으로 유명한 영화감독인 제임스 카메룬은 단순한 영화감독이 아니다. 아마 우리는 그를 탐험가라고 해야 할 수도 있다. 그는 2012년에 단독으로 마리아나 해구의 가장 깊은 바닷속인 챌린저 해연의 탐사를 하였고, 화성 탐사선을 새롭게 디자인하여 NASA에 제공하기도 하였다.
그의 바다에 대한 관심은 1989년 영화 “어비스(abyss)”를 촬영하던 때로 거슬러 올라간다. 본 영화가 상업적으로 크게 성공하지는 못했지만, 그는 다양한 특수효과를 선보이면서 많은 고민을 하였다. 무엇보다 기존의 해저 촬영 방식에 문제를 느끼게 된다. 그는 자신만의 독특한 촬영에 도움을 줄 수 있는 “개인용 프로펠러 수중 추진 장치(apparatus for propelling a user in an underwater environment)”를 개발하여 1989년에 특허(US Patent No. 4996938)를 받는다.
대부분의 사람들은 문제가 있을 때 이를 극복하기 보다는 사회 시스템의 불만을 표출하는 것에 그치곤 한다. 제임스 카메룬 감독의 경우 촬영 장비를 항상 모두 분해하여, 본인이 100% 장비에 대하여 이해하려고 노력했다고 한다. 2022년에 개봉 예정인 아바타 2도 바다를 주제로 한다고 하니 기대해볼 만하다.
George Lucas _조지 루카스
스타워즈 시리즈로 널리 알려진 조지 루카스는 2012년 루카스필름을 약 40억 달러(약 4조 5000억원)에 디즈니에 매각했다. 그는 가족과 시간을 보내기 위하여 매각을 결정하였고, 매각한 금액도 사회에 환원했다고 한다. 40년 간을 스타워즈로 충분히 시달렸기에 그럴 수도 있지 않을까 한다.
그리고 1977년에 공개된 첫 작품인 스타워즈, 그 이후 작품인 제국의 역습, 제다이의 귀환 등에 등장한 오리지널 캐릭터의 판권을 아직도 조지 루카스의 소유라고 한다. 위에서 말하는 판권은 저작권과 상품화권으로 이해하면 좋겠다. 조지 루카스는 지식재산권을 활용한 부가 사업의 선구자라고 할 수 있다. 그가 스타워즈 시리즈의 제작을 시작할 때 그 누구도 그의 성공을 예상하지 않았다.
아무튼 기회는 찬스가 아니겠는가. 그는 감독으로서 최소한의 임금을 받는데 동의한 대신, 스타워즈를 이용한 상품화권리에 대한 수익을 상당히 배당받을 수 있는 계약을 체결한다. 부가사업의 가능성을 잘 알았던 조지 루카스가 그에게 큰 부를 안겨다주는 피규어들의 디자인 출원을 하지 않았을 리가 없다.
조지 루카스와 공동창작자들(Joe Johnston, Ralph McQuarrie)은 1979년에 ‘보바 펫’의 액션피규어 디자인을 출원한다. 미국은 대한민국과 다르게 디자인을 특허법의 영역에서 규정한다. 현재는 존속기간이 만료되었지만, 그렇다고 무턱대고 베끼면 안된다. 디자인법과 별도로 저작권법과 부정경쟁방지법이 있기 때문이다.
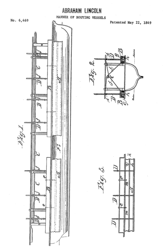
Abraham Lincoln _아브라함 링컨
미국의 16대 대통령인 아브라함 링컨(Abraham Lincoln)이 대통령이 되기 전까지 그는 다양한 경력이 있었다. 그는 젊은 시절 미시시피 강 하구에서 물류를 운송하던 일을 했다고 한다.
링컨은 항구의 얕은 곳에서 배가 운항할 때, 배가 장애물에 걸리는 경우 배를 위로 들어 올리는 장치를 고안하여 특허(US Patent No. 6,469)를 받았다. 그의 특허를 요약하면, 배의 양쪽에 공기 주머니를 배치하여 부력을 증강시켜 배를 얕은 모래톱에서 뜨게 만든다는 것이다.
그는 발명에 많은 관심을 가지고 특허 변호사로서 활동도 이어갔다고 한다. 링컨의 발명가로서의 ‘문제 해결 의지’는 그가 향후 미국 대통령으로서 흑인들의 인권을 해결하기 위한 원동력이 되지 않았을까 한다.
아무튼 미국은 19세기 중반에도 특허법이 존재하여 개인의 발명을 재산권으로 보호받을 수 있는 시대였다는 점을 기억하면 좋겠다. 조선은 이 당시 임금이 24대 헌종 때가 아닌가 한다. 동시대이나 서로가 참 달랐던 것 같다.

참고로 대한민국의 대통령 중에도 발명자가 있다. 링컨은 16대 미국 대통령이었고, 노무현도 대한민국의 16대 대통령이다. 둘다 변호사 출신이다. 노무현은 링컨과 같이 인권을 중시하였고, 격의 없는 소통을 한 대통령으로 대중의 기억에 남아 있다. 그는 2006년 ‘통합 업무 관리 시스템 및 이의 운영 방법’이라는 특허의 발명자로 참여한 경력이 있다.

[프로필] 황성필 만성국제특허법률사무소 파트너 변리사
· 국제변리사연맹 한국 이사
· AI 엑셀러레이션회사 에이블러 대표
· SBS콘텐츠 허브·연세대학교 연세생활건강·와이랩(YLAB) 법률자문 및 서울대학교 NCIA 법률고문 등
[조세금융신문(tfmedia.co.kr), 무단전재 및 재배포 금지]


















