(조세금융신문=황성필 변리사) 마이클 잭슨은 팝의 황제라고 하나 그의 음악은 하나로 정의할 수 없다. 그래미에서 락 보컬상과 알앤비 보컬상을 동시에 수상한 그는 전대미문의 가수이다. 그는 음악 뿐만 아니라 댄스에 있어서도 독보적인 뮤지션이었다.
그는 문워크라는 독특한 춤으로 전세계 사람들의 이목을 집중시켰다. 어릴 적에 학예회나 수학여행은 동네에서 춤 좀 춘다는 친구들의 무대였다. 볼거리가 드물던 시절 친구들이 몇 달 피땀 흘려 연습한 춤들을 구경할 수 있었다. 마이클 잭슨의 문워크도 인기 있는 춤 중에 시대를 떠나 단연 손에 꼽히는 것이었다.
무슨 말인가 하면, 마이클 잭슨의 춤 실력은 사람의 경지를 넘은 것이지만, 문워크라는 춤 자체는 인간이 죽어라 연습하면 뭐 되긴 되는 춤이라는 인식이 있었다는 것이다. 한국의 가수로는 박남정 씨 그리고 박진영 씨가 마이클 잭슨의 무대 퍼포먼스와 유사한 안무를 선보였던 기억이 있다. 그런데 마이클잭슨이 창시한 독특한 댄스 중에 인간이 절대 할 수 없는 춤이 있다.
따라하다가는 실패로 돌아갈 수밖에 없는 춤이며, 무리하게 시도를 하면 주화입마에 사로잡혀 무사할 수 없는 춤이다. 그 춤은 마이클 잭슨이 창시한 일명 “린 댄스”이다. ‘Smooth Criminal’이라는 곡의 뮤직비디오에서 등장하는 춤이다. 두 발이 땅에 붙어 있는 채 상체와 하체가 함께 일직선으로 중력을 무시하며 기울어지는 동작이다. 절대 사람이 할 수 없음을 보는 순간 직감할 수 있음에도, 한번씩 따라해본 기억이 있지 않을까 한다. 아무튼 이 춤의 비밀은 무엇일까? 다음의 사진의 붉은 원을 주목하길 바란다.
보려고 노력하면 보인다더니, 마이클 잭슨 및 댄서들이 바닥에 설치된 작은 장치가 보인다. 아마도 특수하게 제작된 구두와 저 장치를 이용하여 몸을 지탱한 것이 아닐까 한다. 마이클잭슨은 본 춤을 완성시키기 위하여 독특하게 구성한 장치를 특허로도 출원했었다.
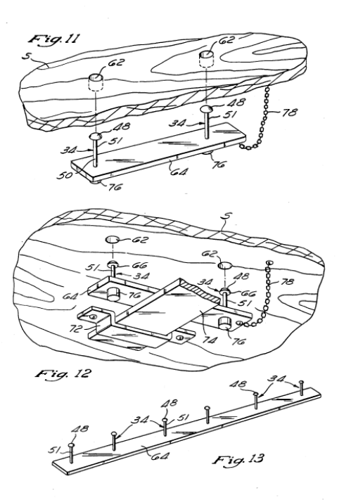
미국 특허청(USPTO)에서 마이클 잭슨과 그의 안무가들이 출원한 특허의 내용을 찾아보면 더욱 분명하게 알 수 있다. 마이클 잭슨은 린 댄스를 가능하게 해주는 장치인 신발과 바닥의 고정장치에 대한 특허를 1992년 6월 29일에 출원하였고 1993년 10월 26일에 등록을 받았다. 영상에 보이는 장치는 신발을 바닥에 고정하는 걸쇄로 추측되며, 다음의 도면에서 확인할 수 있다.
우측 그림은 마이클 잭슨이 신었던 구두의 모습이다. 밑창에 걸쇄를 임시로 고정하여 “린 댄스”를 가능하게 해준 것이다. 그리고 아무래도 발목에 무리가 많이 가기 때문에 발목을 보호하는 형태의 구성도 추가된 것으로 보인다. 참고로 2000년대 중반에 한국 가수인 장우혁 씨가 린 댄스를 선보여 화제가 되었는데 특허 침해에 대한 이슈를 생각해볼 수도 있을 것이다.
장우혁 씨가 만약 마이클 잭슨이 특허 등록받은 장치와 다른 장치를 이용해서 린 댄스를 했거나, 혹은 장치 없이 자신의 몸으로 린 댄스를 추었다면 특허 침해와는 전혀 관계가 없을 것이다. 그러나 동일한 장치를 이용했을 경우에 특허 침해에 해당할 것인가?
마이클 잭슨의 특허를 침해하는 행위라고 생각할 수도 있으나, 특허는 속지주의를 따라 국가마다 등록을 해야 하고, 해당 국가에서만 효력이 있다. 마이클 잭슨은 대한민국에 특허 출원을 하지 않았고, 2005년에 연차료를 더 이상 납부하지 않아 미국에서 소멸된 특허이다. 따라서 장우혁 씨가 설사 동일한 장치를 이용하여 그 시절에 린 댄스를 선보였다고 하더라도 특허 침해와는 무관하기에 특별한 논란이 없었을 것으로 생각된다.
특허의 대상이 되려면 자연법칙을 이용한 기술적 사상의 창작으로서 고도한 것이 필요하다. 고도한 것인지 여부는 특허출원 시의 등록 가능성에서 논한다고 치자. 일단 특허법상 발명은 자연법칙을 이용한 “기술적 사상”이어야 한다.
특허법에서 말하는 “기술”이란 일정한 목적이 달성되는 구체적인 수단으로서 실제 이용할 수 있는 것을 의미한다. 마이클 잭슨의 춤 또한 일반인들에게는 기술이라고 생각될 수도 있을 것인데, 특허법에서 말하는 기술은 기예와는 구분된다. 즉, 기술은 구체성 이외에 제3자에게 그대로 전달될 수 있는 “객관성”이 있어야 한다.
그러나 마이클 잭슨의 춤이 제3자에게 그대로 전달될 수 있는 대상은 아닌 것이다. 특허받은 장치를 이용한다고 하더라도, 마이클 잭슨의 춤을 일반인들이 “객관적”으로 전수받아 시연하는 것은 매우 어렵다. 이는 마이클 잭슨의 문제가 아니고, 나의 몸이 마이클 잭슨과 같지는 않은 것에서 기인하는 것은 아닐런지.
아무튼 이러한 이유 때문에 특허법의 “기술”은 예술가나 운동선수가 체득하고 있는 “기예”와는 구별되는 것이다. 이전에도 다루었지만, 밴 헤일런의 태핑 기술 역시 인간의 기예로 특허의 대상이 되지는 않는다. 마이클 잭슨의 춤 역시 동일한 이유로 특허의 대상이 될 수 없으나 그의 예술을 완성시켜주는 “장치”는 분명한 특허의 대상이다.
자신의 기예가 특허의 대상이 되지 않기 때문에 예술가들은 자신의 예술을 완성시켜주는 장치를 특허로 보호받으려고 노력해볼 수도 있다. 특허가 예술을 보호하지 않는다고 낙심하지 말자. 특허는 예술을 간적접으로 보호할 수 있는 수단이 될 수 있음을 기억하면 좋겠다.

[프로필] 황성필 만성국제특허법률사무소 파트너 변리사
· 국제변리사연맹 한국 이사
· AI 엑셀러레이션회사 에이블러 대표
· SBS콘텐츠 허브·연세대학교 연세생활건강·와이랩(YLAB) 법률자문 및 서울대학교 NCIA 법률고문 등
[조세금융신문(tfmedia.co.kr), 무단전재 및 재배포 금지]


















